- The Stroke A (mm)
- The Extended Length B (mm)
- The Extension Force F1 (N)
- And The Type Of Connection
Determining The Extension Force F1 (N) At 20℃
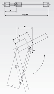
G=Weight Of Flap In KG
L=Distance From Center Of Gravity To Pivot Point In mm
d=Effective Lever Arm Of Gas Spring In mm, Flap Open.
13=Conversion Factor KG-N+Safety Margin
S=Flap Attachment (Suggest Approx. 2/3 L)
n=Number Of Gas Spring (Standard:n=2 Pcs)
H=Effective Leverarm Of Gravity In mm, Flap Open.
Example:
G=30KG, H=400mm, d=200mm, n=2
