思考您所需使用的產品特性
a.欲產生助力(省力)選用 Gas Spring (氣壓棒)
b.欲產生阻力(缓衝、減速)選用Oil Damper (油壓棒)
當您決定選用氣壓棒或油壓棒後,可依產品分類圖的說明選擇所需要的功能特性,如僅作為支撐桿使用時,選擇自由型系列氣壓棒,而若需要有定位功能時則選用定位型系列氣壓棒,如需阻尼功能時,則選用油壓阻尼棒。
選擇好功能特性後請依您的實際使用狀況,並可配合設計指引中之F1計算參考來決定所需的氣壓棒反力值。您也可以從本公司現貨規格品中挑選出適合您所需的氣壓棒規格。
決定適合您使用的氣壓棒規格後請再選擇適合您所需的兩端接頭部品,可從本公司所提供的相關接頭搭配螺栓類或沖壓配件來挑選適用部品。
請將您所需的相關訊息告知我們,讓我們來滿足您的需求。
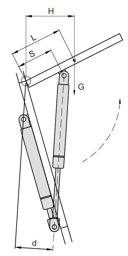
氣壓棒裝置的方向會影響活塞桿作動的缓衝效果,一般而言,活塞桿位於上方,管件位於下方的裝置方式稱為正立,反之則為倒立。ㄧ般情況下,倒立的裝置方式可得較佳的缓衝效果。
★DD系列則不分安裝方向均有緩衝效果★
氣壓棒的反力(力量)與使用的環境溫度有明顯的依存關係,氣壓棒的反力會隨溫度的變化而改變,當溫度上升時氣壓棒的反力隨之升高,而當溫度下降時氣壓棒的反力亦將隨之降低。
通常在一般的環境條件中,溫度變化10°C時,氣壓棒的反力會有約3.5%的變化,右圖所顯示的變化趨勢可提供作為決定氣壓棒反力時的參考。
無特殊要求情況下,所謂的氣壓棒反力值,為溫度25°時,氣壓棒所產生的支撐力。
氣壓棒的反力(力量),是用來說明該氣壓棒的重要特性之一,氣壓棒的反力決定了氣壓棒是否可以適當的將蓋子或門板支撐至所需的位置。氣壓棒反力的標示位置有4處,如左圖所示分別為壓縮方向的F3與F4,及伸張方向的F2與F1。

一般情況下,氣壓棒反力(力量)的數值,指的是F1,也就是氣壓棒伸張至最大長度前5mm的位置所量測得到的力量值。在某些使用情況下,F3、F4、F2也會被一併考量,這端看使用者的需求而定。


我們希望能幫助您選擇合適的氨氣缸,您可以使用下面的簡易公式概述

氮氣缸伸展壓力值 F1 (N)溫度條件在攝氏 25°C+3°C





